ABB 2CPX038171R9999 Metering exchange board - IP2XC

Part Number: 2CPX038171R9999
Manufacturer
ABB
Part number
2CPX038171R9999

Quick Summary

Metering exchange board from ABB enables compact, modular metering panels for utility and industrial installations. Engineers often wrestle with on-site wiring, meter transformer connections, and limited enclosure space. This product is CE compliant with EU Declaration of Conformity, IP2XC protection, and RoHS/REACH compliance, ensuring safety and regulatory alignment. The 750 × 500 × 175 mm footprint, 120 DIN place units, and bottom DIN-rail mounting simplify installation, while on-site assembly and wiring options help reduce project lead times and field labor costs. For customers modernizing energy metering infrastructure, it delivers reliable enclosure performance with scalable cross- and transformer-metering capacity.

Product Information

Extended Description

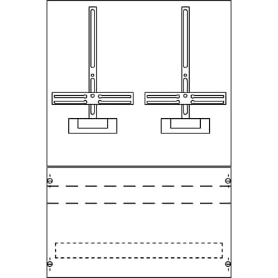
2CPX038171R9999 ABB: Metering exchange board, meter panel, with Metering cross, for the internal use, degree of protection IP2XC, Rated operational voltage 415V AC 50/60 Hz, rated current 0 A, in RAL 7035, dimensions in mm (H x W x D): 750 x 500 x 175, 1-floor, Number of reserve spaces 2, Number of transformer meter spaces 1, Note: Assembly and wiring on site, additional perhaps metering transformer terminals and wiring for current and voltage path connection to ordered, Provision of meteringboard to be defined with DSO, Grid unit 5 GU, Overall height 1, panel width 2, Space units 120, covers out of Plastic, RAL 7035
Rated Operational Voltage
Maximum 415 V
Rated Current (In)
0 A
Model Number
1-story
Number of Phases
0
Number of Meter Cabinets
2
Number of Rows
0
Number of TSG Panels
0
Lower Connection Space
with DIN Rails (Top Hat Rails)
Enclosure Type
Metering exchange board
Enclosure Type of Height
1
Protection Type
None
Cover Style
Closed
DIN Place Units
120
RAL Number
RAL 7035 - Light Grey
Color
Light grey
RoHS Information
EU Declaration of Conformity Meter panels for half indirect metering
RoHS Status
Following EU Directive 2011/65/EU and Amendment 2015/863 July 22, 2019
RoHS Date
20240903
REACH Declaration
Declaration regarding the REACH – Regulation ABB STRIEBEL & JOHN
REACH Information
False - does not contain substances > 0.1 mass percentage
REACH Date
20240902
Conflict Minerals Reporting Template (CMRT)
Conflict Minerals Reporting Template
WEEE Category
Product Not in WEEE Scope
WEEE B2C / B2B
Business To Business
Degree of Protection
IP2XC
Width in Number of Modular Spacings
24
Product Net Width
500 mm
Product Net Height
750 mm
Product Net Depth / Length
175 mm
Section Width
2
Product Net Weight
6.376 kg
Package Level 1 Units
pack 1 piece
Package Level 1 Gross Weight
6.631 kg
Declaration of Conformity - CE
EU Declaration of Conformity Meter panels for half indirect metering
ETIM 8
EC000068 - Meter board
ETIM 9
EC000068 - Meter board
eClass
V11.0 : 27142417
Object Classification Code
U
IP2XC protection and a closed cover design reduce exposure to dust and accidental contact, helping you meet indoor installation safety standards while protecting metering components. The enclosure ships in a 750 x 500 x 175 mm footprint with 120 DIN place units across two meter cabinets, enabling scalable metering configurations for growing facilities and grid-edge applications. Lower connection space with DIN rails simplifies wiring and enables rapid field connections to metering transformers and current paths, cutting installation time and reducing field technician hours. The light-grey RAL 7035 enclosure with plastic covers delivers durable, aesthetically consistent installations across sites, while RoHS and REACH compliance support regulatory expectations and supplier sustainability goals. On-site assembly and the defined provisioning with the DSO reduce project risk by clarifying scope, interfaces, and metering transformer terminals.

Get a Quick Quote for a ABB 2CPX038171R9999

Chat with us on WhatsApp - fast responses guaranteed

Need to speak with someone? We'll call you back within 2 hours during business hours

Interested in ABB 2CPX038171R9999? Enquire Now

FAQs

The meter board is designed for bottom DIN-rail mounting with a lower connection space. Plan for on-site assembly and wiring, coordinate with the DSO to define metering provisions, and connect current and voltage paths to transformer terminals. Ensure the enclosure remains IP2XC protected and rated for up to 415 V to maintain safety and performance.
Key specifications include a maximumRated Operational Voltage of 415 V AC and a Rated Current (In) of 0 A in the data. The system uses a 1-story enclosure with two meter cabinets, 120 DIN place units, and an IP2XC protection class. Dimensions are 750 mm (H) × 500 mm (W) × 175 mm (D).
Yes. It is described as a meter panel for half indirect metering with cross and transformer meter spaces, designed for integration with metering transformers and current/voltage paths. The unit is RoHS/REACH compliant and ships with a CE EU Declaration of Conformity, making it suitable for regulated, industrial metering environments.
The product carries a CE Declaration of Conformity, RoHS compliance with EU Directive 2011/65/EU and amendment 2015/863, REACH declarations, WEEE considerations, and ETIM/eClass classifications. It also carries IP2XC protection and a U.A. finish in RAL 7035, supporting safe, compliant deployment in indoor electrical infrastructure.
The modular, pre-wired design reduces field wiring time and on-site labor, accelerating project timelines. The IP2XC enclosure and RoHS/REACH compliance support long-term reliability and regulatory alignment, while the two-meter-cabinet arrangement and DIN-rail compatibility simplify future upgrades or scaling. ROI depends on project scope, but installation efficiency and regulatory compliance are clear value drivers.